郭艾伦名下企业均已注销 独资公司已注销!4月7日,郭艾伦在微博发文回应了网传他被骗千万的消息。企查查APP显示,上海烁光体育文化发展事务所成立于2017年4月,出资额为10万人民币,经营范围包括体育赛事策划、文化艺术交流策划和体育咨询等,该事务所是郭艾伦的个人独资企业。目前,该事务所已注销。

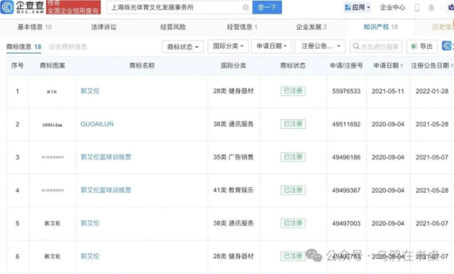
知识产权信息显示,该企业已注册多枚“郭艾伦”和“郭艾伦篮球训练营”商标,涉及健身器材、通讯服务和教育娱乐等多个国际分类,当前这些商标状态大多为已注册。


郭艾伦名下企业均已注销 独资公司已注销!4月7日,郭艾伦在微博发文回应了网传他被骗千万的消息。企查查APP显示,上海烁光体育文化发展事务所成立于2017年4月,出资额为10万人民币,经营范围包括体育赛事策划、文化艺术交流策划和体育咨询等,该事务所是郭艾伦的个人独资企业。目前,该事务所已注销。

知识产权信息显示,该企业已注册多枚“郭艾伦”和“郭艾伦篮球训练营”商标,涉及健身器材、通讯服务和教育娱乐等多个国际分类,当前这些商标状态大多为已注册。


0评论2026-04-0910
0评论2026-04-0911
0评论2026-04-0911
0评论2026-04-09
0评论2026-04-0911
0评论2026-04-09
0评论2026-04-09
0评论2026-04-0911
0评论2026-04-09
0评论2026-04-0911